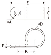
R型线夹 R Style Clamp for Cable
|

材质:PA66
防火等级:UL94 V-2
颜色:黑色--BK /自然色
操作温度:-40°C to 85°C
Unit: mm
|
|
|
Part No.
|
A
|
B
|
C
|
D
|
E
|
F
|
|
RCC-C0
|
4.8
|
8.0
|
9.6
|
3.1 (1/8")
|
17.0
|
1.2
|
|
RCC-C0.5
|
4.8
|
9.2
|
9.6
|
5.0 (3/16")
|
18.6
|
1.2
|
|
RCC-C1
|
4.6
|
10.0
|
10.0
|
6.4 (1/4")
|
20.0
|
1.2
|
|
RCC-C1.5S
|
4.6
|
12.0
|
10.0
|
6.7(9/32")
|
22.0
|
1.3
|
|
RCC-C1.5
|
4.6
|
12.0
|
10.0
|
7.9 (5/16")
|
22.0
|
1.3
|
|
RCC-C2
|
5.0
|
12.5
|
12.0
|
9.5 (3/8")
|
24.0
|
1.5
|
|
RCC-C3
|
5.0
|
15.2
|
12.0
|
12.7 (1/2")
|
31.0
|
1.4
|
|
RCC-C4
|
4.6
|
18.2
|
12.0
|
15.8 (5/8")
|
34.3
|
1.5
|
|
RCC-C5
|
4.6
|
18.2
|
11.8
|
19.4 (3/4")
|
35.0
|
1.5
|
|
RCC-C6
|
4.6
|
22.0
|
12
|
25.4 (1")
|
43.0
|
1.8
|
|
RCC-C6.5
|
4.6
|
24
|
12
|
27.5 (1 1/16")
|
50.0
|
1.8
|
|
RCC-C7
|
4.6
|
26.2
|
12
|
31.8 (1 1/4")
|
46.2
|
1.8
|
|
RCC-C9
|
4.6
|
30.0
|
12
|
36.7 (1 1/2")
|
50.0
|
1.8
|
|
 |